微软 Surface Phone 三折折叠屏专利曝光
来源:http://www.tudoupe.com时间:2021-12-29
根据OnMSFT,微软公司在2021年和明年12月29日继续在IT House开发双屏幕智能手机,尽管该公司似乎打算在最近的将来吸引三个屏幕的人。

2020年6月23日提交的专利, 由专利苹果公司刚刚发现, 于上星期公布,



虽然专利在消费者心目中尚不存在可折叠移动电话的时候可能显得很傻, 微软的专利实际上可能帮助其将可折叠移动电话的愿景比任何人都早变为现实。
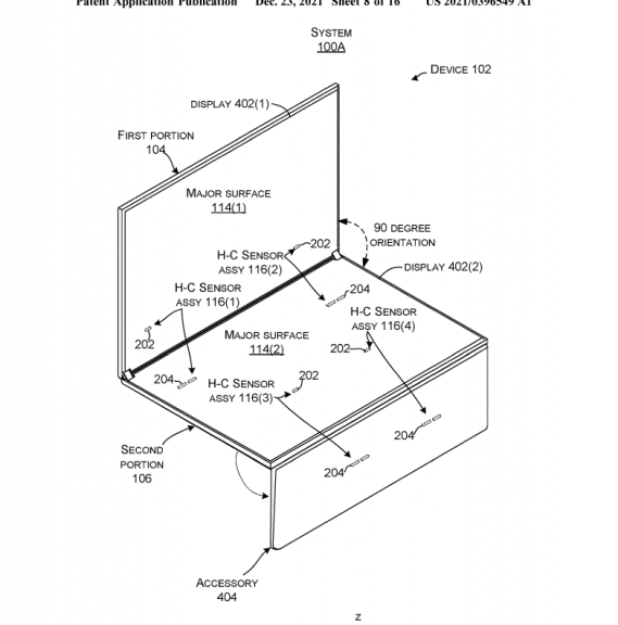
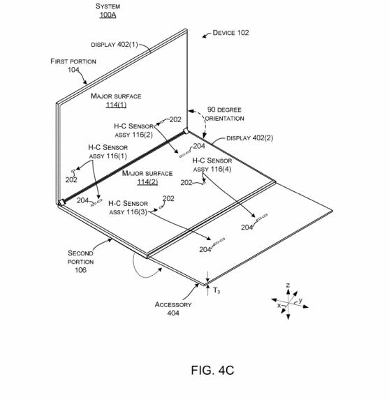
专利本身规定了链条的长度、平行轴、磁铁的长度、磁屏、霍尔效应传感器等等,同时还介绍了微软打算如何纳入可用作多功能屏幕的2/3尺寸显示器。
屏幕被描述为各种情况下的键盘、触摸板或赌博控制器,但其最有益的目的可能是外向屏幕,类似于三星银河硬盘的新热点。
IT之家获悉,微软表面Duo正与三星银河硬板公司直接竞争。然而,后者确实包括外部屏幕。这是我第一次 能够弄清楚这里到底发生了什么 这样就能更容易和快速地 进入这里因为Duo的手机没有外部屏幕,由于通知,出现了一些分歧。
如果处理得当,这项新的专利可能会使地表Duo能够与三星三星Fold和其他移动电话竞争,甚至可以被视为向前迈出的一步。
当三个显示器叠叠在一起时,顶层屏幕作为更典型的单一显示器,将给那些在目前市场上想要更大的平板板面板的人带来最大多功能,供任何折叠产品使用。
微软已经证明,它有能力形成强大的链条。尽管专利链是单向的,与表层Duo和表层Duo 2双向链不同,但可以肯定的是,它们会和Duo水面链一样坚韧不拔
HBO西部世界编程的道具组 设想微软的专利, 微软的版本将与它相仿, 宽度比除外。

虽然这是巨大的,但仍有许多挑战需要解决,例如电池、重量、冷却、记忆管理、微软发射器或整个安德烈系统如何提供三屏经验等等。
尽管如此,它认为,新专利将有助于微软克服地表Duo和地表Duo 2的某些缺点。

微软支持其选择双屏幕折叠和单屏幕筛选,以便更好地模仿许多人在工作中或家中计算时的双屏幕体验。 现在的问题是,有多少人会利用这三种屏幕配置来提供更好的流动体验。
上一篇:小米年度旗舰12/12 Pro/12X正式发布,安卓七个第一全面对标苹果
下一篇:没有了
相关新闻
- 2021-12-29 小米年度旗舰12/12 Pro/12X正式发布,
- 2021-12-29 Phorpiex僵尸网络化身为Twizt重现江湖
- 2021-12-29 新型“PseudoManuscrypt”间谍软件针对
- 2021-12-29 微软专利可根据HoloLens收集数据重建
- 2021-12-29 微软将不会亲自参加 CES 2022
- 2021-12-29 橘郡国际分享|北大教授为学生揭
- 2021-12-29 一种深度学习的无人机影像道路自
- 2021-12-29 Win11管理员运行在哪里,Win11怎么以
- 2021-12-29 赋能大型组织办公数字化转型
- 2021-12-29 Windows 11颜色管理Bug影响色彩渲染
|
|
|
|
|
|
|
|
|
|
|
|
|
|
|
