转型失败求诸医疗AI,易联众的平台梦能照进现实吗?
来源:http://www.tudoupe.com时间:2022-07-23

本文第五22条深海原子的原始研究
2022年7月16日,厦门人工智能学会举办了「2022年人工智能生态大会和人工智能产品简介会」并推出「中国天上AI平台」,在新闻发布会上,该公司表示,该平台已经部署了十年,可以与国内顶尖的人工智能制造商相比。
看到这里,我不禁有个小小的疑问。如今,人工智能技术和产品已经走进千家万户,号称布局良久的易联众为何现在才推出产品,这多少显得有一些跟不上节奏。
7月20日,刚刚在易于使用AI平台上发布,另一则消息使它再次引起公众的注意。证监会网站发布了对微医集团(浙江)有限公司及其法人代表的行政处罚决定书,在开始调查和研究Ebay股票持有的微药公司违反信息披露的规定后,监管当局对微医合资企业征收了300万元的罚款。刘建被罚款80,00元。尽管这次处罚,与美国的关系并不很好,但参与行政处罚最终并不那么 glamorous。
2015年,张谢接管了Easy合股,入主这家医疗公司。曾经光荣的统一伯爵,在张翔的领导下,过渡开始了,但推动新的商业发展并不顺利,张谢似乎接受失败,开始躺下来,屡次套现。如今,再次归来的易联众,重新押宝医疗AI,清天宫将拯救世界人民 吗?
01
内忧不断
联合国联盟于200年成立,在医保、医疗和社保信息化等领域有着众多成就,例如,他们开发了该国第一个金融保险IC卡,例如,建立国家第一个公共信息服务云平台。保健 、 保健 和 公务员 制度 是 易于 结社 的 基石 。
2010年,欧洲联盟成功地进入股票市场。但商业状况没有显著改善,在商业化上,欧洲货币联盟一直存在着一些困难,2015年张西接管之前,该公司的利润不超过500万元.2015年,张翔投资了10亿元、69亿元的股份,其中79%是新参议员。随着张曦的入主,欧洲货币联盟也为改革铺平了道路。
毕业于厦门大学国际贸易系张西安,在加入Ebay之前,他拥有广泛的金融和房地产领域经验。在接手易联众后,张翔决定带领人民走出第二线,截至2015年及2016年年底,厦门保险有限公司及厦门保险融资租赁有限公司成立。
随着易联众的转型,公司利润大幅上涨,到2020年,我们已经过十亿门,但其现金流并未增长。2015年至2012年货币联盟时期末期的现金和现金等价余额分别为4.45亿,5.600,00.258亿,4.44亿,4.258亿,2.363亿。此外,2016年以后,欧洲货币联盟的非净利润减免几乎是负的,2021年,该公司的净利润为-1.0.9亿美元,扣除非净利润--130亿记录。
金融业务存在一定的风险。例如,保险业务的发展所涉及的风险主要是保险业务的支付人不能按时支付,卖方不能及时重新购买保险债务的信用风险.欧洲货币联盟的金融业务不仅仅是无底的,更是引起了深交所的高度关注。2019年,“关于向资讯科技有限公司每六个月提交的查询,”针对易联众存货、商业模式、应收账款、实控人股份质押等多重问题提出问询。
2017年至2019年间,应收帐户分别为83亿、7400亿和5亿。据《金融状况周刊》报道,保险公司在商业保险业务中与一些不良信用记录的公司合作,导致期末应收保理款出现多起逾期。2021年,为长期会计及在业务过程中未能收回部分应收款项,李刘合营公司必须清算,坏账的全部金额是27亿美元。
2016年后,联盟的利润开始迅速增长,利润率为5%,为1,500,600,26亿,7,300,9,49亿,10,51亿和8,71亿。不过,商业仍然严重依赖公务员行业,2021年,八八七亿,其中民生服务行业贡献8.3亿,他贡献了95.4%的利润;2021年,保险经纪业贡献了392.8亿美元。可见,尽管 梦想 是 改变 联合国,但并未被照进现实。
为了更好地控制公司,提高话语权,自2015年起,张西继续购买欧洲联盟的股票。当时的股价高达29.97%。但随着EMU过渡的负面影响,张曦开始减持股票,截至发稿日,张西的股权为16.17%。欧盟股票也下跌了。截止发稿日,它的股票价格只有6.64元/股,相对于张西的第19次升值.44元/股,下滑超过65%。

△易联众股票
2019年,微医举牌易联众,一时间为医疗和医保的深度融合提供了巨大的想象空间,也有一些项目落地,但最终并未出现1+1>2的现象。现在的易联众急需破局。
02
AI是出路吗
美国政府寻求的突破是医疗人工智能。在易联众角度,我们有足够的数据来积累和积累在大型数据研究中,这是易于获得医疗人工智能的空前优势。基于Windows XP系统的定制软件和集成电路产品,用最先进的人工智能取代赛道,这种研究开发的飞跃是产生出来的,让人意外无比,似乎又在情理之中。
在易联众角度,我们有足够的数据来积累和积累在大型数据研究中,这是易联众做医疗人工智能的先天优势。这种研究开发的飞跃是产生出来的,让人意外无比,似乎又在情理之中。
在医学人工智能的布局中,盟国的野心并不小,一系列应用和产品。“智鼎天宫AI平台”囊括了包括知识图谱、人脸识别、图像识别、视频分析、自然语言处理等AI能力于一体的众多人工智能技术,基于此,公司推出了一系列人工智能衍生软件服务和软硬件集成产品,如智能视频监控、智能客户服务、智能咨询、医疗券识别、准确推荐、智能分析箱、人工智能集成机器、政策仿真和集成决策。为消费者应用、商业保险、养老机构等提供产品及服务的场景

△AI产品
公司表示,产品精度很高。与一流人工智能公司相比。易于使用的单元将能量分成产品,数十亿和数百亿投资于其他企业是等价的,这些人工智能总部需要检讨吗?对其他人的大规模降落效应进行冲刷的效应,不要考虑其他现实的干涉,又是否合理呢?在这个行业里,肯定有一种慷慨的感觉。
2021年,欧洲经济联盟的研发成本为1.86亿美元,年增长率为16.36%,但其中1 % 用于 800 亿 的 工人 工资,实际上只有600万美元用于产品研发。另外,根据公开数据显示,该项目共有1498名研发人员参与。但是,在看似庞大的研发团队中,只有45名大师。
作为科技类公司,大多数创业企业将花超过50%的研发开支用于雇员的工资,拥有硕士以上学历的人比例往往高于20%。基于人工智能研发的复杂性和难度,公司有能力开发这样一个复杂的平台和许多技术,这点需要打个问号。此外,该公司已推出一些智能硬件,为了支持这么多硬件产品,研发成本不足600万美元 吗?或者硬件成本不包括在研发中吗?
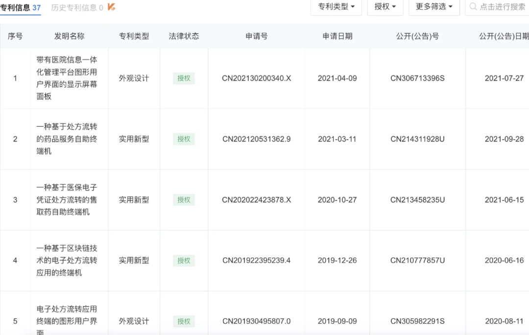
易联众号称,基于“智鼎天宫AI平台”已经申请了60多项专利。但2021年,经委会只取得四份发明专利,实用新型专利3项。在搜索平台查看整个公司的专利只有37件,其中只有两个将在2021年获得执照,分别是基于处方流通的自给药服务终端和基于电子医疗保险证处方流通的自给药销售终端。其他人工智能产品,似乎并无专利支撑。其他专利尚未批准,没有专利作为技术障碍,也似乎很难保证技术的方向。毕竟在医疗市场,并非每个轨道都缺乏追随者。

△专利信息
早年间,医疗信息产业的发展缓慢,对病人的资料保护有限。2015年,谷歌旗下DeepMind与伦敦Royal Free NHS基金信托合作,从国家卫生局获取160万个临床资料,并基于此展开研究。2022年,DeepMind可能因未获得病人同意而集体上诉,这也引发了对滥用健康数据的担忧。随着《中华人民共和国数据安全法》的实施,对医疗资料的收集和利用给予高度优先。不知道欧洲货币联盟的大规模数据分析,病人有资格吗?此外,使用下列数据,也将会更加困难。
如今,医疗和金融进入了数字化和智能的时代。产品经营和营销需要一种新的思维,对技术和易于访问的综合竞争力提出了更高的要求。企业管理者的要求更加严格,现在张西仍有许多公司职责,完全管理易于访问是困难的.2021年,出售的成本只有1209.80,00美元,如此低的投入,如何替代高销售的人工智能产品?
金融科技的前所未有的包围证明张西的成功故事不适合于李武;低销售投入似乎也揭示了李武在B和G两端销售的“惯性”。 在这一新轨迹中,似乎优势并不显而易见,实现平台梦想的难度也不小。
下一篇:没有了
相关新闻
- 2022-07-23 【安全圈】卡巴斯基发出警告,勒
- 2022-07-23 联想Thinkbook 14 AMD锐龙6800H开箱:五
- 2022-07-23 微软官方再次提醒用户 Windows 8.1 系
- 2022-07-23 Windows 11 22H2默认即封锁RDP暴力破解
- 2022-07-23 旧主板用pcie扩展卡M2 NVME固态硬盘装
- 2022-07-23 国际学校秋招末班车!再不上车就
- 2022-07-23 Bug不断用户体验不舒爽:Windows 11声
- 2022-07-23 苹果都做不了的 5G 芯片,华为是怎
- 2022-07-23 手机也能玩地平线5,微软云游戏真
- 2022-07-23 外传活动上线 apex英雄更新慢/更新
|
|
|
|
|
|
|
|
|
|
|
|
|
|
|
